2mm Serial Adapters


 


More Photos

These serial adapters connect to any Systronix 2mm serial or IrDA header and provide an industry standard RS232 DTE (Data Terminal Equipment), DCE (Data Communication Equipment) or IrDA (Infrared Data) connection.

See the schematics below for all the details.

These adapters are used by products such as SBX2, SimmSerial, and JStik

No special I/O drivers needed - compatible with all our hardware and the standard serial port drivers such as javaxcomm.

Documentation & Code

Serial Adpater Schematics PDF
2003 Feb 05
Detailed schematics and pinouts for the 2mm-to- DCE, DTE, and IrDA adapters.

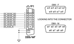
Image showing the DTE and DCE signals and the pinouts looking into the DB9 connector shells. (This image is taken from the adapter schematics.) Click on the image for a 1024x512 pixel version which is actually readable.

Note that the signal names do not depend on whether the port is DTE or DCE. According to the RS232 specification, TXD is always on pin 3. In the case of DTE, TXD is outgoing, in the case of DCE it is incoming (as the arrows in the drawing indicate). But it is still labeled "TXD".

These are all the possible DB9 RS232 signals. Most hardware devices do not implement them all. At a minimum you need RXD, TXD, and ground - all other signals are optional. Consult your specific product documentation before assuming that all signals are present and actively supported (some may be passive pullups).

2mm connector information (in case you want to make your own cables or design a board to work with our adapters). 2mm connectors are not standardized, so all 2mm connectors from all vendors will not work together. Here are some compatible part numbers, available from Digi-Key:
  • 2mm IDC receptacle, polarized, our part #2249, AMP/DigiKey AKA10K (used on our 2mm cables)
  • 2mm shrouded right angle header, polarized, our part #2241A, Waldom/DigiKey WM18091 (used on our serial adapter boards, JStik, SimmSerial, etc).
  • 2mm ribbon cable, 10 conductor, grey with red stripe, our part #2613, 3M/DigiKey MC10L (used in our 2mm cables)
  • 2mm vertical shrouded header, polarized, our part #2252, Molex Mlx 87331-1020, used on our JTAG pod